![]()
Anunciamos aqui no blog que a Sony estava fazendo uma votação, veja aqui, para que os fãs escolham quais extras deverão entrar na Edição de Colecionador de God of War III. Entre os extras possíveis me chamou a atenção o fato de God of War II ser uma das opções, sendo que os PS3’s mais novos não tem o suporte a jogos de PS2!
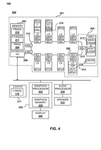
Segundo o site Siliconera, a Sony registou uma patente referente à emulação por software, do Emotion Engine (CPU da PS2) através do Cell (CPU da PS3), o que poderá solucionar, no futuro, a ausência de retrocompatibilidade nos modelos atuais do PS3.
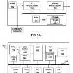
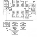
Para relembrar o console quando foi lançado era retrocompatível, pois incluía alguns componentes do PS2, no entanto quando chegaram os modelos de 60GB a retrocompatibilidade já tinha sido limitada devido a mudanças de componentes internos, até que foi eliminada por completo posteriormente.
O sistema patenteado pela Sony baseia-se em possibilitar a interpretação das instruções específicas do Emotion Engine, o que fará com que qualquer console PS3 possa ser, através de software, retrocompatível com os jogos do PS2.
A Sony ainda não se pronunciou sobre este assunto.
Agora é 99,9% certo que a Sony está realmente trabalhando em um emulador de PS2 para PS3 conforme rumores anteriores publicados aqui no blog.
Obs:
Lembrando, se essa informação for confirmada prepare-se para uma avalanche de jogos de PS2 na PSN. 😉







Comentários