cropped-Capturar.png

CAVVES

  • Home
  • Quem somos
  • Na Midia

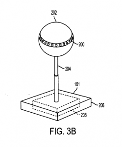
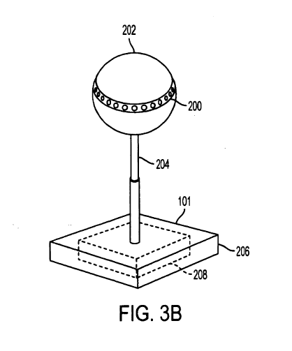
Sony registra patente parecida com Kinect

ss_preview_image248

  • Por CAVVES

Share this...
Share on facebook
Facebook
Share on pinterest
Pinterest
Share on twitter
Twitter
Share on whatsapp
Whatsapp

CAVVES

Posts recentes

  • Anime na faixa: Akane-banashi
  • One Piece: O episódio que me levou de volta 20 anos no tempo
  • Os textos que nunca foram embora
  • Evangelion 30+: um epílogo impossível… ou talvez necessário
  • He-Man: Onde eu já vi isso?!

Arquivos

Comentários

  • mig7 em Otaku fun fest uhuul!
  • CAVVES em Japoneses elegem os 50 melhores jogos de Xbox 360
  • Melhores Links da Semana! #60 « Clictec em Tour 3D pelo Titanic com o CryEngine 3
  • [Humor] Lego Modern Warfare 3 | CAVVES em Lego: Uma idéia na cabeça e muito tempo livre
  • CAVVES em Top10: Que personagens você gostaria de ver em Dakimakura?!

Comentários

  • mig7 em Otaku fun fest uhuul!
  • CAVVES em Japoneses elegem os 50 melhores jogos de Xbox 360
  • Melhores Links da Semana! #60 « Clictec em Tour 3D pelo Titanic com o CryEngine 3
  • [Humor] Lego Modern Warfare 3 | CAVVES em Lego: Uma idéia na cabeça e muito tempo livre
  • CAVVES em Top10: Que personagens você gostaria de ver em Dakimakura?!
  • Top10: Que personagens você gostaria de ver em Dakimakura?! | CAVVES em Top10: As gatas mais gatas dos games
  • Top10: Que personagens você gostaria de ver em Dakimakura?! | CAVVES em Top10: As gatas da década nos animes
  • mig7 em Top10: Que personagens você gostaria de ver em Dakimakura?!
  • mig7 em Boas Vindas.
  • Kas_360 em Otaku Fun & Fest

© 2026 CAVVES.

Feito com por Temas Graphene.

Cleantalk Pixel