No próximo dia 26 de Novembro, Killzone (PS2) completa cinco anos de vida. A Guerrilla Games não quis deixar passar esta data sem uma comemoração especial, anunciando no Blog oficial PlayStation várias iniciativas. Quem ainda não adquiriu os conteúdos adicionais para Killzone 2, terá a chance de ganha-los, a produtora irá oferecer códigos, durante esta …
Arquivo por tag: ps2
God of War Collection: Veja o trailer
[youtube=http://www.youtube.com/watch?v=4NauCYjAn0I] Pela bagatela de 39.95 dólares, os fãs de Kratos vão poder jogar os primeiros dois episódios, lançados originalmente para PlayStation 2, num único disco e em versões melhoradas. Além de uma nova resolução de 1280×720, ou seja 720p, estas versões vão contar com um visual renovado com gráficos sem aliasing e um framerate de …
Bioware entusiasmada com o PS3
A Bioware estar entusiasmada com os trabalhos no console da Sony com o seu RPG Dragon Age: Origins. Em entrevista com o site Videogamer, Greg Zeschuck, vice-presidente da BioWare, disse que a equipe descobriu que trabalhar no PS3 é intusiasmante e que tem as suas vantagens. “Tem sido interessante. Tem sido na verdade muito bom. …
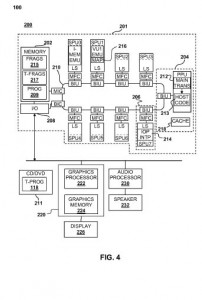
Sony patenteia emulação de PS2 no PS3 por software
Anunciamos aqui no blog que a Sony estava fazendo uma votação, veja aqui, para que os fãs escolham quais extras deverão entrar na Edição de Colecionador de God of War III. Entre os extras possíveis me chamou a atenção o fato de God of War II ser uma das opções, sendo que os PS3’s mais …
FF ACC: 100.000 cópias no primeiro dia!
Sim, Final Fantasy VII: Advent Children Complete vendeu em seu primeiro dia mais de 100.000 Blu-Ray’s. Para fins de comparação, as maiores vendas de anime no formato em 2008 foram os volumes 1,2 e 3 de Macross Frontier com 34.742 , 27.137 e 25.479 unidades vendidas respectivamente. Fonte:Ameblo Não há de se negar que o …
Jogos de PS2 no PS3!
Anunciamos aqui no blog que a Sony esta fazendo uma votação, veja aqui, para que os fãs escolham quais extras deverão entrar na Edição de Colecionador de God of War III. Entre os extras possíveis me chamou a atenção o fato de God of War II ser uma das opções, sendo que os PS3’s mais …
Shadow of the Colossus vai virar filme
Esta poderia ser uma ótima notícia, se não fosse pelas pessoas envolvidas no projeto. Produtor: Kevin Misher, responsavel por filmes como The Scorpion King e The Interpreter. Roteirista: Justin Marks, responsavel por Street Fighter: The Legend of Chun-Li. Nenhum cronograma ou data foi anunciado por enquanto, mas espero que nós vamos ser todos mortos por …









Comentários